Thursday, March 26, 2015

Fabrication Of Motorized Screw Jack

Images of Fabrication Of Motorized Screw Jack

Design And Fabrication of Motorized Automated Object Lifting jack
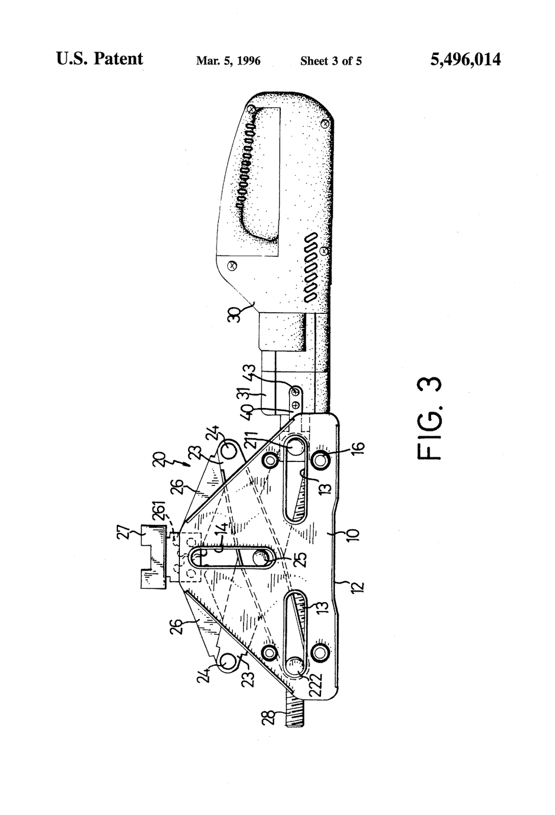
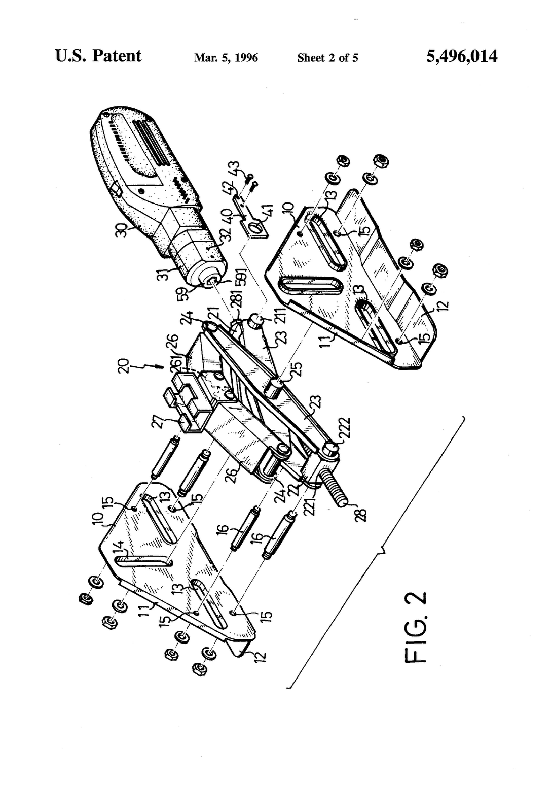
Design and Fabrication of motorized automated Object lifting jack Ivan Sunit Rout1, Dipti Ranjan Patra1, Sidhartha Sankar Padhi1, The object moving jack moves the lead screw upwards, so that the vehicle lifts from the ground. ... Retrieve Here

Fabrication Of Motorized Screw Jack Pictures

DESIGN AND FABRICATION OF MOTORIZED
MOTORIZED SCREW JACK •The motorized screw jack has been developed to cater to the needs of small and medium automobile garages. ... Retrieve Document

Pictures of Fabrication Of Motorized Screw Jack

CTS01 CTS02 CTS03 CTS04 CTS05 CTS06 CTS07 CTS08 CTS09 CTS10 ...
CTS01 Design and Fabrication Accident Avoiding Hydraulic Jack CTS 29 Design and Fabrication of Motorized Screw Jack CTS 36 Design and Fabrication of A Mechanical (or) Screw Type Puller ... Read Here

Photos of Fabrication Of Motorized Screw Jack

MECHANICAL PROJECTS - SES Techno
Mechanical projects fabrication based projects 1. intelligent motorized wall painting crane 58. magnetic shock absorber 59. magnetic suspension system 60. fabrication of automatic jack 18. automatic parking brake system 19. ... Retrieve Document

Fabrication Of Motorized Screw Jack

PROPOSAL FOR TRAINING IN CAD CAM COURSES
Fabrication of motorized screw jack. 35) Fabrication of automatic water level controller for Over head tank. 36) Fabrication of rain detected and wiper motor Controller. 37) Fabrication of power generation from shock Absorber. ... Access Document

Images of Fabrication Of Motorized Screw Jack

PNEUMATIC AND HYDRAULIC PROJECTS
Automatic pneumatic vice and jack 4. Fabrication of Hydraulic oil pump testing Equipment Fabrication of Motorized Hydraulic Jack 15. Fabrication of CNC pneumatic packing control machine Fabrication of Pneumatic Screw Driver Machine ... Retrieve Content

FABRICATION OF MOTORIZED SCREW JACK - YouTube
MICANS INFOTECH offers Projects in CSE ,IT, EEE, ECE, MECH , MCA. MPHILL , BSC, in various domains JAVA , DOT NET , ANDROID , MATLAB , NS2 , EMBEDDED , VLSI , APPLICATION PROJECTS , IEEE PROJECTS. CALL : +91 90036 28940 +91 94435 11725 MICANSINFOTECH@GMAIL.COM WWW.MICANSINFOTECH.COM. ... View Video

Simple Machine - Wikipedia, The Free Encyclopedia
[12] and describes their fabrication and uses. [15] However the Greeks' understanding was limited to the statics of simple machines; the balance of forces, and did not include dynamics; the tradeoff between force and distance, The most common example is a screw. In most screws, ... Read Article

Photos of Fabrication Of Motorized Screw Jack

Technofist.com
AUTOMATIC AND REMOTE CONTROLLER SCREW JACK. SOLAR CELL OPERATED MOTOR CYCLE. of three axis pneumatic modern trailer 14 fabrication of solar race car 15 voice controlled wheel chair 16 Fabrication of motorized screw jack 17 Efficient car parking for four wheel 18 Fabrication of sand ... Content Retrieval

Fabrication Of Motorized Screw Jack Photos

Download List Of Mechanical/Mechatronics/Automobile ...
Fabrlcetlon ot Int*gent Motorized Hydraulic Jack Fabrication of Motorized Screw Jack Remote controlled air craf1(Ftying Model) Intelligent Active system for twowheeler Fabrication Motorized Hydrwlic F abrication Of Pneumatic ... Retrieve Content

Fabrication Of Motorized Screw Jack

MODAInnovations
14.Fabrication of motorized screw jack 15.Fabrication of path finding equipment 16.Fabrication of railway gate controller 17.Fabrication of sand collecting vehicle ( JCB ) 18.Fabrication of Segway 19.Fabrication of solar race car. ... View Document

Drill - Wikipedia, The Free Encyclopedia
The auger uses a rotating helical screw similar to the Archimedean screw-shaped bit that is common today. The gimlet is also worth mentioning as it is a scaled down version Fabrication; Forming; Jewellery; Machining; Metallurgy; Smithing; Tools and terminology; Welding; Power tools. sawhorse ... Read Article

Pictures of Fabrication Of Motorized Screw Jack

NEW PROJECTS LIST - CRISP SYS
Cpa0025 motorized jack cpa0036 gsm based vehicle sequrity system cpa0043 auto fare meter for auto/call taxi cpa0086 road marking machine cpa0100 aqua silencer cpm0132 fabrication of motorized screw jack cpm0292 fabrication of fly press ... Doc Viewer

Fabrication Of Motorized Screw Jack Images

Design Development& Investigation Of Remote Controlled Screw ...
The fabrication part of it has been considered with almost case for its simplicity and economy, such that this can be accommodated as one of the essential tools on automobile garages. The main parts of the motorized screw jack are as follows: ... Document Retrieval

Fabrication Of Motorized Screw Jack

M/s. Master & Associates TheelectronicPeople Website:www ...
M/s. Master & Associates TheelectronicPeople 197,S econdFloor,L ahotiB uilding, NaviP eth,Jalgaon-425001 Mob.9890942306,9370004309 Fabrication of Motorized Screw Jack 287. Fabrication of Steam Power Plant . 288. Fabrication of Hydro Power Plant ... Get Content Here

Fabrication Of Motorized Screw Jack Photos

DOORS OF TECHNOLOGY - Technofist
Fabrication of motorized screw jack 13. fabrication of motorized hydraulic jack 16.car theft and accident preventer 17.fabrication of elctromagnetic break 18. push operated spray pump,mechanical fabrication project 13. ... Retrieve Doc

Fabrication Of Motorized Screw Jack Images

DESIGN AND FABRICATION OF MOTORIZED SCREW JACK FOR A FOUR WHEELER
DESIGN AND FABRICATION OF MOTORIZED SCREW JACK FOR A FOUR WHEELER A PROJECT REPORT Submitted in partial fulfillment for the award of the degree of lead screw and this adjustment can be done either manually or by integrating an electric motor. ... Document Viewer

Images of Fabrication Of Motorized Screw Jack


Mechanical Engineering Project Titles 2013 – 2014 SlNo Project Title 1 ACCIDENT PREVENTER FOR PUNCHING MACHINE. 2 ANTILOCK BRAKING SYSTEM 151 FABRICATION OF MOTORIZED SCREW JACK 152 FABRICATION OF PNEUMATIC RECIPROCAL PIPE VICE ... Content Retrieval

Fabrication Of Motorized Screw Jack Photos

Scissor Screw Jack Design - Pdfsdocuments.com
Scissor Screw Jack Design.pdf DOWNLOAD HERE DESIGN AND FABRICATION OF MOTORIZED SCREW JACK FOR A FOUR WHEELER A PROJECT REPORT Submitted in partial fulfillment for the award of the degree of. DESIGN AND ANALYSIS OF AN AERIAL SCISSOR LIFT - AES JOURNALS. ... View Document

Pictures of Fabrication Of Motorized Screw Jack


18 hydraulic fork lift 19 fabrication of motorized hydraulic jack 20 fabrication of motorized screw jack 21 fabrication of pneumatic reciprocal pipe vice ... Document Retrieval

Fabrication Of Motorized Screw Jack Photos


Motorized Screw Jack For Car Lifting. HVS-1960. Fabrication of Electric Scooter with Self Charging Dynamos. Mechanical automatic scissor JACK HVS-1565. Fabrication of Internal grinding for lathe HVS-1566. Microcontroller based drip irrigation system agricultural engineering ... Read Here

Pictures of Fabrication Of Motorized Screw Jack

Screw Jack Design Pdf - Pdfsdocuments.com
Screw Jack Design Pdf.pdf DOWNLOAD HERE 1 / 2. http://www.pdfsdocuments.com/out.php?q=Screw+Jack+Design+Pdf. SCREW JACK – - WordPress.com - Get a Free Blog Here. DESIGN AND FABRICATION OF MOTORIZED SCREW JACK FOR A FOUR WHEELER. ... Fetch Full Source

No comments:

Post a Comment